当前美股指数期权市场成交量略有上行豪泰配资,认沽/认购比例小幅度下行,多头力量有所退场。
今日到期的标普500指数期权成交量分布:Call单与Put单分布存在分歧,Put单峰值在6810点,Call单峰值在6875点。
今日到期的纳斯达克100指数期权成交量分布:Call单峰值为25530,Put单峰值在25100点。
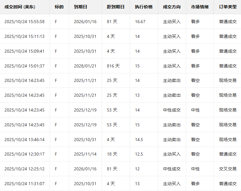
二、美股期权成交榜1、福特汽车上一交易日涨12.16%豪泰配资,前一日认沽/认购比例大幅度下行,成交量上行,多头气势如虹。
观察本周五到期的call单,多张涨幅超3倍。

观察期权异动大单,临收盘前,大户看多为主。

消息面上豪泰配资,福特汽车(F)2025年的调整后息税前利润(EBIT)指引引起了投资者的广泛关注,但美国银行证券分析师在周五的一份报告中表示,其核心业务“强劲”,表现比第四季度的预期高出10亿美元。
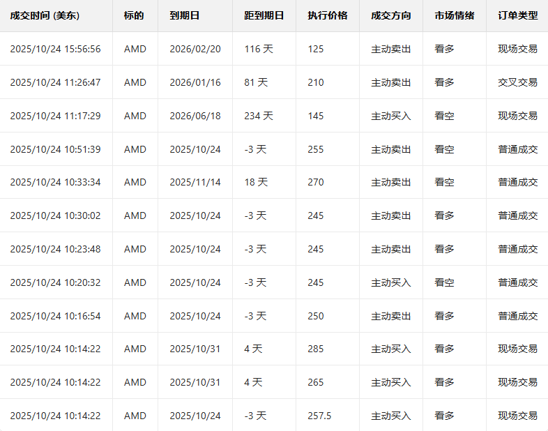
2、美国超微公司上一交易日涨7.63%,前一日认沽/认购比例小幅度上行,成交量上行,多空博弈激烈。
观察本周五到期的call单,多张涨幅超3倍。

观察期权异动大单,临收盘前,大户以看多为主。

美股期权成交量排行榜前十

美股期权波动率排行榜前十
三、美股ETF期权成交榜美股ETF期权成交量排行榜前十
美股ETF引申波幅排行榜前十(标的要求:市值>100亿美元)豪泰配资
倍顺网提示:文章来自网络,不代表本站观点。